- 集团网站
- 选择区域/语言
登录
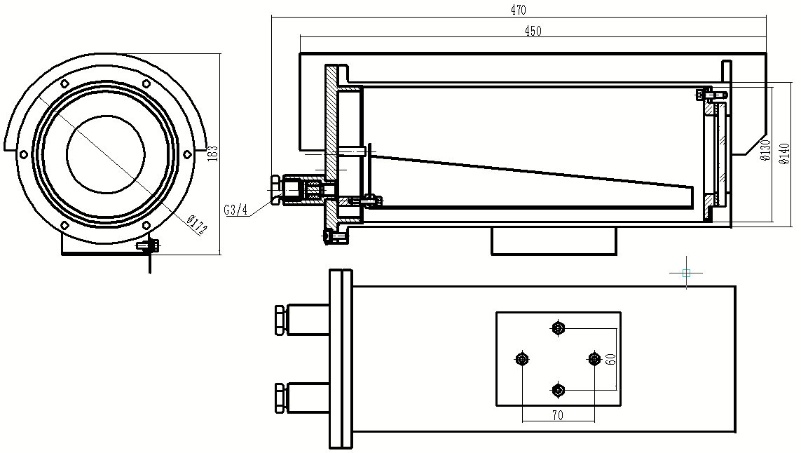
型号 |
IPC-FB8810 |
防爆证号 |
GYB16.1517X |
内腔尺寸 |
320(L)*70(W)*70(H)mm |
外形尺寸 |
470(L)*Ø172(W)*183(H)mm |
材料 |
外壳304或316L不锈钢 |
防护等级 |
防护等级 IP68 |
安装方式 |
壁装或者吊装 |
供电方式 |
DC12V |
接口 |
1 个 3/4" 出线孔 |
红外距离 |
80M |
重量 |
10Kg |
